Toyota Patenkan Desain Mobil Terbang, Begini Penampakannya
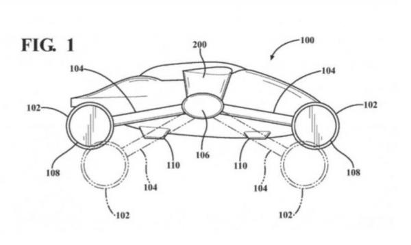
NEW YORK, iNews.id - Toyota dikabarkan tengah mengembangkan mobil terbang. Auto Guide telah menemukan merek dagang Toyota Engineering and Manufacturing North America (TEMA) yang menggambarkan kendaraan terbang dengan roda yang dapat turun ke tanah dan terbang di udara.
Dilansir dari Carscoops, Minggu (30/9/2018), Paten menjelaskan kendaraan mampu mengubah dari kendaraan darat pribadi menjadi helikopter dengan lengan yang dapat memanjang ke atas. Rotor tersembunyi dalam roda kemudian akan mulai berputar, mendorong kendaraan naik ke angkasa. Kendaraan ini menyerupai pesawat tanpa awak (drone) besar.

Toyota bisa menggunakan sumber tenaga apapun untuk memberi daya motor listrik ke masing-masing roda. Powertrain bisa berasal dari bahan bakar sel hidrogen, baterai, turbin gas generator, atau bentuk lain dari sistem tenaga listrik.

Tidak seperti banyak mobil terbang lainnya, Toyota menciptaian kendaraan ini benar-benar menyerupai mobil.
Bagaimana masa depan mobil terbang di dunia? Beberapa orang percaya ini bisa menjadi solusi transportasi masa depan. Di sisi lain, kritikus berpendapat mobil terbang akan membuat ruang udara semakim padat, sangat bising, dan berbahaya.
Editor: Dani M Dahwilani