Get iNews App with new looks!
Mode Gelap
Advertisement
Aa Text
Share:
Read Next : Smartphone Layar Lipat Baru Samsung Diprediksi Meluncur pada Agustus
Advertisement . Scroll to see content

Paten Terkuak, Samsung Ingin Bikin 'Layar Terbang' yang Dikontrol Mata

Selasa, 20 Februari 2018 - 14:01:00 WIB
Paten Terkuak, Samsung Ingin Bikin 'Layar Terbang' yang Dikontrol Mata
Paten Samsung (Foto: USPTO)
Advertisement . Scroll to see content

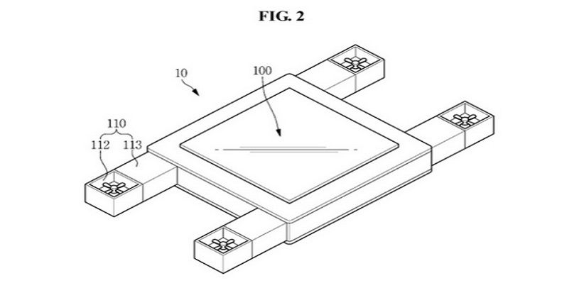
SEOUL, iNews.id - Samsung mengajukan paten baru untuk pesawat tak berawak (drone). Paten itu mengungkapkan, drone memiliki layar terintegrasi yang mampu mendeteksi wajah dan pupil serta gerak tubuh seseorang.

Sebagaimana dikutip iNews.id dari The Verge, Selasa (20/2/2018), paten tersebut menunjukkan unit yang menampilkan layar di tengahnya dengan empat baling-baling di setiap sudutnya. Paten ini sendiri pertama kali ditemukan oleh LetsGoDigital.

Paten menggambarkan drone yang mencakup kamera dan sistem observasi untuk mengirimkan informasi ke unit kontrol utama. Sistem bisa melacak mata, kepala, tangan, atau jari secara real time. Kecepatan dan arah penerbangan drone bisa dikendalikan dengan menggerakkan kepala, mata, atau tangan Anda, dan unit juga bisa secara otomatis melacak pengguna tanpa gerakan tambahan.

Dalam sebuah gambar paten itu menunjukkan, perangkat dari sisi tampilan. Paten menggambarkan, joint manipulator yang bisa mengubah sudut kemiringan penerbangan. Unit itu sendiri tidak terbatas pada bentuk quad-rotor; dapat dikonfigurasikan ulang ke berbagai bentuk.

Selain itu, unit ini juga bisa mencakup sensor gyroscope, sensor gerak, sistem getaran, dan accelerometer. Selain itu, ia juga memiliki kemampuan pengenalan suara, GPS, dan penentuan posisi berbasis Wifi.

Sekadar informasi, Samsung mengajukan permohonan paten pada 3 Januari 2016 dan baru dikabulkan USPTO pada 13 Februari 2018.

Editor: Dini Listiyani

Follow WhatsApp Channel iNews untuk update berita terbaru setiap hari! Follow

Related News

 
iNews Network
Kami membuka kesempatan bagi Anda yang ingin menjadi pebisnis media melalui program iNews.id Network. Klik lebih lanjut