Get iNews App with new looks!
Mode Gelap
Advertisement
Aa Text
Share:
Read Next : Nyaris Rp1 Miliar! Harley-Davidson Hydra-Glide Revival Jadi Rebutan Kolektor di IIMS 2026
Advertisement . Scroll to see content

Harley-Davidson Patenkan Teknologi Self Balancing, Bikin Motor Lebih Seimbang

Rabu, 10 Juni 2020 - 15:17:00 WIB
Harley-Davidson Patenkan Teknologi Self Balancing, Bikin Motor Lebih Seimbang
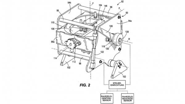
Teknologi self balancing yang bekerja berdasarkan sistem giroskopik tersebut sudah dipatenkan Harley-Davidson. (Foto: Harley-Davidson/Autoblog)
Advertisement . Scroll to see content

MILWAUKEE, iNews.id - Pabrikan moge asal Amerika Serikat, Harley-Davidson tengah menyiapkan teknologi self-balancing. Teknologi ini diklaim memudahkan pemilik mengendarai kendaraannya.

Dikutip dari Autoblog, Rabu (10/6/2020), teknologi yang bekerja berdasarkan sistem giroskopik tersebut sudah dipatenkan Harley-Davidson. Artinya, bobot berat moge itu bukan jadi masalah lagi ke depan.

Teknologi self-balancing ini membantu pengendara motor menyeimbangkan kendaraan terutama saat melaju dalam kecepatan rendah. Seperti diketahui, motor-motor Harley-Davidson selalu menyulitkan saat dipakai berkendara.

(Foto: Harley-Davidson/Autoblog)
(Foto: Harley-Davidson/Autoblog)

Teknologi ini akan aktif otomatis saat motor melaju di kisaran 5 km/jam. Dalam kondisi tersebut, giroskop akan mencari keseimbangan yang memudahkan pengendara mengendalikan motor.

Sementara saat motor melaju pada kecepatan tinggi, giroskop akan berhenti bekerja sehingga motor bisa dikendalikan secara normal.

Meski belum dibocorkan secara detail, teknologi terbaru ini dipastikan bakal berbeda dengan teknologi Mechanical Gyro yang sudah tersemat pada motorcycle IMU (motor listrik Harley-Davidson).

Editor: Dani M Dahwilani

Follow WhatsApp Channel iNews untuk update berita terbaru setiap hari! Follow

Related News

 
iNews Network
Kami membuka kesempatan bagi Anda yang ingin menjadi pebisnis media melalui program iNews.id Network. Klik lebih lanjut